Julien TESSIER et la Ciné-Kodak

Un frenchie aux origines du cinéma amateur

En 1923, Eastman-Kodak lance le film inversible 16mm ininflammable et ouvre la voie au cinéma amateur. La camera et le projecteur qu'ils proposent simultanément sont l'œuvre d'un ingénieur français, Julien TESSIER ...

La naissance du cinéma amateur

Depuis son invention en 1889, le cinéma avait vu se développer de nombreuses techniques et formats de film. De multiples améliorations avaient été apportées aux matériels et aux supports mais les formats étaient extrêmement nombreux. Si les professionnels avaient opté globalement pour le film 35mm, dénommé "standard". Il en était tout autrement pour le cinéma amateur.
La solution apparut avec le film 16mm réversible conçu par John G. Capstaff, des laboratoires de recherche Eastman-Kodak. Une première présentation en fut faite dès 1920. La décision fut alors prise de développer ce nouveau support et de concevoir les différents matériels et services nécessaires à son exploitation. George Eastman invita alors les principaux industriels du secteur Bell & Howell Co. et Victor Animatograph Corp. à partager ce concept et à concevoir les caméras et projecteurs permettant de l'utiliser. Eastman-Kodak en confia leur développent à un ingénieur français Julien TESSIER.
Julien TESSIER était un ingénieur français né en 1878. Il œuvre d'abord dans l'automobile et chez Pathé à Vincennes avant d'émigrer aux États-Unis. il entre à la Lubin Manufacturing Company à Philadelphie (Pennsylvanie) où il signe à partir de 1913 un grand nombre de brevets.










En 1920, il dépose ses premiers brevets pour Eastman-Kodak avant que ne lui soit confié le développement des matériels cinématographiques utilisant le format 16mm. Dès le mois de Mai 1930 se dessine l'ébauche de la future "Ciné-Kodak". En 1922 il présente un prototype au boitier gainé de cuir.(Ce prototype est présenté sur le site du George Eastman Museum de Rochester).
En 1923 Julien TESSIER déposera l'ensemble des brevets de la gamme de matériels proposés par Eastman-Kodak et présentés dans les transactions de la S.M.P.E (Society of Motion Picture Engineers) en mai 1923.

Julien TESSIER avait alors 45 ans. Il décédera en 1969 à l'âge de 91 ans

Brevets

Ci-dessous, voici les multiples brevets déposés par Julien TESSIER pour Eastman-Kodak et concernant la caméra "Ciné-Kodak" et le projecteur "Kodascope" ainsi que plusieurs accessoires, trépied et "Splicer" (accessoire de montage). Cliquez sur les images pour afficher le brevet au format PDF. Vous pouvez retrouver la page dédiée à la "Ciné-Camera" d'Eastman-Kodak en cliquant ici .


Focusing Lens Mount - 03/05/1920 - US1405463 


Motion picture apparatus - 03/05/1920 - US1572252
Le premier prototype de ce que sera la caméra "Ciné-Kodak" trois an plus tard.

"Mon invention concerne les appareils de cinéma et plus particulièrement les caméras affectées à la prise de vues, les images d'amateurs. A cette fin, les objectifs de mon invention sont de fournir un appareil photo qui soit compact et facile à utiliser afin qu'il puisse être facilement transporté... "


Motion picture apparatus - 08/09/1922 - US1572252
Le premier prototype du futur projecteur "Kodascope".

"La présente invention concerne un appareil de cinéma et plus particulièrement un mécanisme de projection d'un type simple adapté à un usage domestique ou amateur."


Operating handle for motion picture cameras - 17/11/1922 - US1469830
Brevet de la manivelle d'entrainement qui équipera la version définitive de la caméra "Ciné-Kodak".

"La présente invention concerne une poignée rabattable pour une caméra cinématographique, et un boîtier de caméra à tête fraisée pour l'adapter particulièrement à cette poignée."


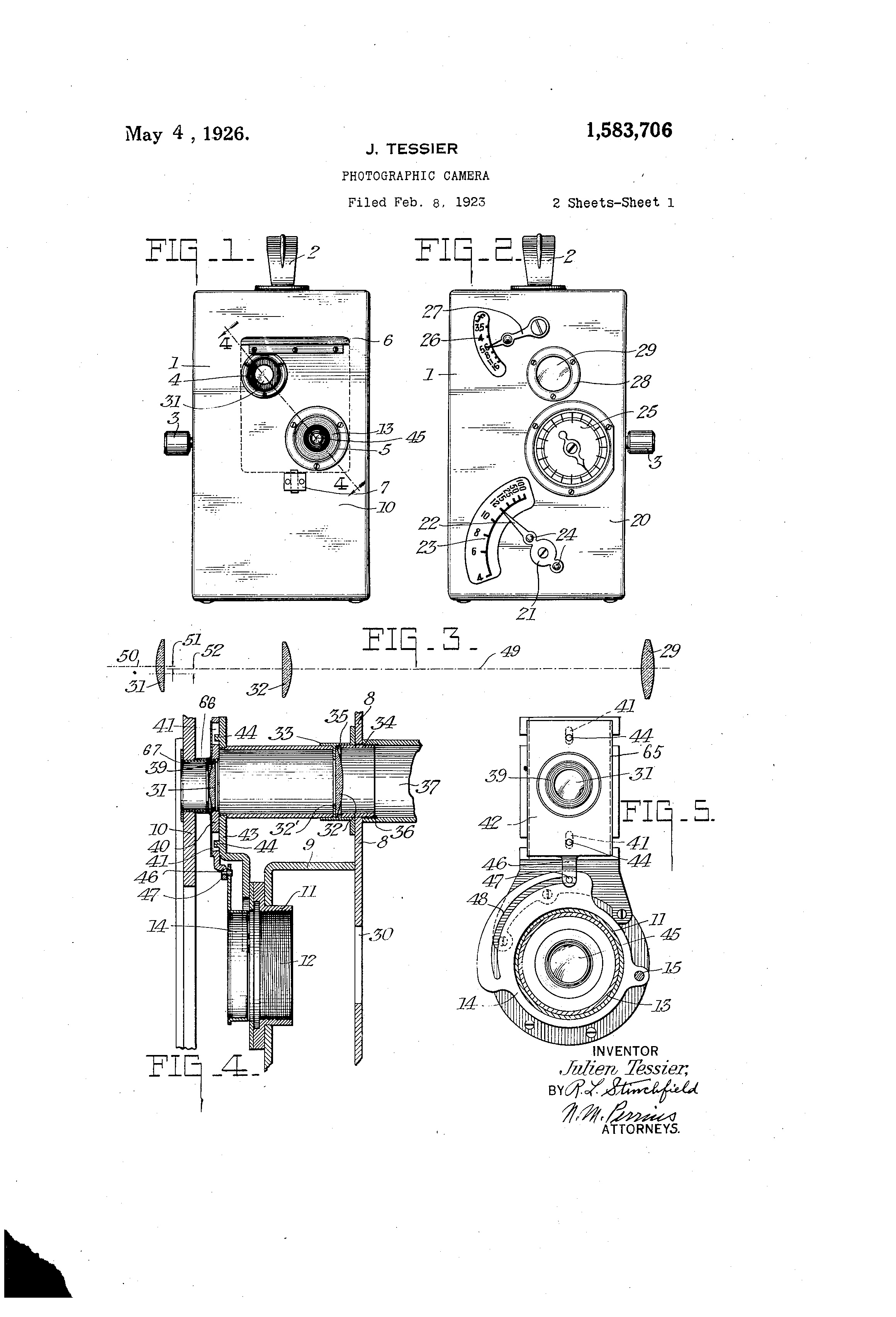
Photogaphic camera - 08/02/1923 - US1583706
Viseur et objectif de la caméra "Ciné-Kodak".

"La présente invention concerne les appareils photographiques et plus particulièrement la corrélation entre le viseur et et l'objectif"


Motion picture camera - 12/02/1923 - US1583707
Présentation définitive de la caméra "Ciné-Kodak".

"La présente invention concerne les caméras cinématographiques et plus particulièrement ces caméras conçues pour être utilisées par des amateurs et des personnes non qualifiées. - L'objet principal de cette invention est de fournir des moyens par lesquels il sera impossible de fermer ou d'utiliser la caméra à moins que toutes les pièces qui nécessitent une manipulation en relation avec le chargement de la caméra soient dans la position correcte ou opérationnelle..."


Camera casing - 04/05/1923 - USD65678
Boitier de la caméra "Ciné-Kodak".


Film splicer - 08/06/1923 - USD1591500
Brevet d'un episseur.

"La présente invention concerne la photographie et plus particulièrement les machines d'épissage de films photographiques, telles que celles utilisées pour assembler des bandes de films cinématographiques. ..."


Tripod - 29/06/1923 - USD1598943
Brevet du trépied de la caméra "Ciné-Kodak".

"la présente invention concerne la photographie et plus particulièrement les supports pour appareil photographique. il a pour objet de fournir un trépied solide qui soit pratique à monter et à démonter...."


Motion picture projector - 04/10/1923 - USD1598944
Amerioration du projecteut "Kodascope".

"La présente invention concerne un appareil de projection de films cinématographiques et plus particulièrement le mécanisme de commande de la position de l'obturateur de sécurité.. ..."


Light modifying device for cameras - 09/04/1924 - USD1598943
Amelioration de la caméra "Ciné-Kodak".

Sources

  • Le site "Lantern" pour les sources d'époque..
  • Le site du George Eastman Kodak de Rochester
  • Google "Patent" pour les brevets
  • Mes échanges avec le petit fils de Julien TESSIER